REGAL RAILING INSTALLATION GUIDE
REQUIRED TOOLS

•Drill •3/8" hex bit •#10 Robertson bit OR #2 square drive

•Hacksaw or Mitre Saw

•Tape Measure •Rubber Mallet
A. Determine location of all posts. Pre-drill
Pilot Holes and secure loosely with one
fastener only. Use #14 x 2-1/2″ Lag screws.
Note: For installation on Non-wood surfaces.
For example: composite or vinyl. It is
recommended to drill a weep hold just above
post base plate to permit water to drain off.
B. If wall brackets are required, install as
shown. Measure up from the floor 42-1/8″ to
the top of upper bracket sleeve and 3-3/4″ to
the top of bottom bracket sleeve and secure
with screws or lags.
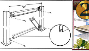
• Measure distance between posts (“x”). Mark both top
and bottom rail and cut to required length. Cut top rail
1/2″ shorter than bottom rail. (*Note: Install support leg
in bottom rail every 48″)
• Install bottom rail and bracket attached to posts. Put top
rail in post brackets and attach both top and bottom rail
to post with #10 x 3/4″ white self tapping or metal
stainless steel screws as shown
• Drill a 3/16″ hole through bottom rail every 24″ to act as
water drains. You can now level a
• When Installing Pickets
Start against one post and snap a spacer into top and
bottom rail using a rubber mallet. Insert a picket and
tap it tight to the spacer. Repeat this procedure until
you have 3-4 pickets left. Install remaining pickets as a
group, spread out and snap in remaining spacers. Cut
last spacer to fit, using a hacksaw.
• When Installing Tempered Glass
Remove clear PVC liner from top and bottom rails and
replace with black gasket. Place rubber blocks in the
bottom rail, 2-4 blocks per panel. The glass then slides
up into the top rail and down into the bottom rail to rest
on the rubber blocks.
UNIVERSAL ANGLE BRACKET (UAB)
For Stair Application
Universal Angle Brackets will accommodate any stair
angle or incline.
Mount top and bottom posts at desired locations on
step treads. Mount UAB brackets to post while
maintaining 28 5/8″ between round backing plates.
Use #10 x 3/4″ self tapping metal screws or stainless
steel screws.
Measure and cut top and bottom rail as shown (“x”).
Insert pickets as in step 3. Cut last spacer to fit.
Note: Location of top and bottom posts on stair tread
will determine overall height of top rail. Top rail
height shall not be less than 34″ or greater than 36″
above tread nosing.
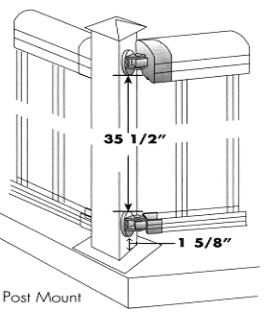
ANGLE POST APPLICATION
Universal Angle Bracket
Measure up from post base plate
1 5/8″ to bottom of round backing plate and attach
post.
Maintain 35 1/2″ between backing plates and
attach top round plate as indicated using #10 x
3/4″ self tapping or stainless steel screws.
GATES
Remove post at one end of gate and cut to
desired size allowing 2 inches for hinges and 2
inches for latch.