SECONDARY HANDRAIL SYSTEM
INSTRUCTIONS:
- Aluminum and PVC tube should always be cut at the same length.
- If using a power saw, a carbide tip blade of at least 60 teeth is recommended.
- Use an adhesive appropriate for bonding aluminum
WARNING: Always wear safety goggles.
6001- 90° Wall Return

Cut the aluminum and PVC tube to proper length. 1. )Apply adhesive to all metal contact surfaces. 2.)Ensure flange cover is placed over PVC rail prior to assembly. 3.)Slide joiner into wall return and aluminum rail support. 4.)Attach mounting flange to desired surface. Snap flange cover into place.
Ensure adhesive cures per adhesive manufacturer instructions.
6002 - Straight Wall Return

Cut the aluminum and PVC tube to proper length. 1.) Apply adhesive to all metal contact surfaces. 2.) Ensure flange cover is placed over PVC rail prior to assembly. 3.) Insert straight wall return into aluminum rail support. 4.) Attach mounting flange to desired surface. Snap flange cover into place.
Ensure adhesive cures per adhesive manufacturer instructions.
HAND RAIL COMPONENTS

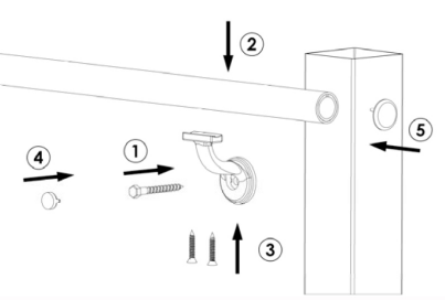
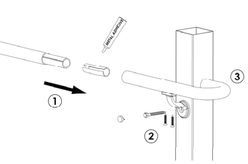
6003 - Hand Rail Bracket

1) Attach bracket to mounting surface using an appropriate connector (a 3/8" lag bolt at least 2" long should be used when mounting to a wood surface). 2) Place rail at appropriate location on bracket. 3) Pre-drill two holes in rail with a х" bit at appropriate location and attach with screws provided. 4) Snap bolt cover into place. 5) Using PVC adhesive, attach hand rail end cap (sold separately) to unfinished end of rail.
6004 – 90° Corner

Cut the aluminum and PVC tube to proper length. 1) Apply adhesive to all metal contact surfaces. 2) Slide joiner into each side of corner and aluminum rail supports until the joints are tight.
Ensure adhesive cures per adhesive manufacturer instructions.
6005 – End Loop (18" x 12" x 18")

Cut the rail and end loop at desired location. 1) For level installation, refer to “6007 - Straight Joiner”, for angled installation refer to “6008 - Adjustable Joiner”. 2)Install top bracket as described in “6003 - Hand Rail Bracket”. 3) Repeat for the bottom bracket. 4) Using PVC adhesive, attach hand rail end cap (sold separately) to unfinished end of loop.
6006 – Post Return

Cut the rail and post returns at desired location. 1) For level installation, refer to “6007 - Straight Joiner”, for angled installation refer to “6008 - Adjustable Joiner”. 2) Install bracket as described in “6003 - Hand Rail Bracket” instructions. 3) Use PVC adhesive to secure post return to PVC post.
6007 – Straight Joiner

Cut the aluminum and PVC tube to proper length. 1) Apply adhesive to all metal contact surfaces. 2) Optional: Position joint ring between rail sections 3) Slide joiner into both aluminum rail supports until the joint is tight.
A PVC adhesive may be used to ensure a tight seem on the exterior tube.
Ensure adhesive cures per adhesive manufacturers instructions.
6008 – Adjustable Joiner

1) Cut the aluminum and PVC tube to proper length at desired angle. 2) Apply adhesive to all metal contact surfaces. 3) Slide rails together until the joint is tight.
A PVC adhesive may be used to ensure a tight seem on the exterior tube.
Ensure adhesive cures per adhesive manufacturers instructions.
Lifetime Non-Prorated Limited Warranty
LMT Mercer Group Inc.
WHAT AND WHO IS COVERED FOR HOW LONG
LMT warrants to the original homeowner/customer that its vinyl (PVC) products will be free from manufacturing defects –
including peeling, flaking and corroding – when subject to normal and proper use. Should any defect occur LMT will repair
or replace, at its option, the defective product. LMT also reserves the right to refund the amount paid by the original owner
for the product (but not including the cost of its initial installation). In no event shall LMT be liable or responsible for labor
charges or other expenses whatsoever in connection with removal or installation of either the original or replacement
product.
LIMITATIONS
-This warranty does not provide protection against any failure, defect or damage caused by situations and events beyond
normal exposure conditions, including but not limited to:
-Misuse, abuse, neglect or improper handling or storage; improper installation or installation not in strict adherence to
LMT’s written instructions; Use of accessories which do not properly receive and/or secure LMT products; Impact of foreign
objects, fire, earthquake, flood, lightning, hail, hurricane, tornado or other casualty or act of God; Movement, distortion,
collapse or settling of the ground or structure on which the product is installed; Any other cause not involving manufacturing defects in the material supplied by LMT;
-Normal weathering is defined as exposure to sunlight and extremes of weather and atmosphere which will cause any
colored surface to gradually fade, chalk, or accumulate dirt or stains. The severity of any condition depends on the
geographical location of the product, the cleanliness of the air in the area, and many other influences over which LMT has
no control.
-This warranty does not apply to product which has been painted, varnished or coated over the manufacturer’s original
finish.
-If LMT replaces any material under this warranty, it may substitute products designated by LMT to be of comparable
quality or price range in the event the product initially installed has been discontinued or modified.
TRANSFERABILITY
This warranty is not transferable.
OTHER CONDITIONS
THIS WARRANTY REPLACES ALL OTHER ORAL OR WRITTEN WARRANTIES, LIABILITIES, OR OBLIGATIONS OF LMT.
PERTINENT STATE LAW SHALL CONTROL FOR WHAT PERIOD OF TIME FOLLOWING THE SALE A HOMEOWNER/CUSTOMER
MAY SEEK A REMEDY UNDER THE IMPLIED WARRANTY OF MERCHANTABILITY OR FITNESS FOR A PARTICULAR PURPOSE.
IN NO EVENT SHALL LMT BE LIABLE FOR CONSEQUENTIAL OR INCIDENTAL DAMAGES OF ANY KIND, INCLUDING ANY
DAMAGE TO THE BUILDING, ITS CONTENTS OR ANY PERSON HEREIN, RESULTING FROM THE BREACH OF THIS WARRANTY. LMT DOES NOT AUTHORIZE ITS DISTRIBUTORS OR DEALERS TO MAKE ANY CHANGE OR MODIFICATION TO THIS
WARRANTY. SOME STATES DO NOT ALLOW LIMITATIONS ON, OR THE EXCLUSION OF, INCIDENTAL OR CONSEQUENTIAL
DAMAGES, SO THE ABOVE EXCLUSIONS MAY NOT APPLY TO YOU.
This warranty gives you specific legal rights, and you may also have other rights which may vary from state to state.
WHAT THE CUSTOMER MUST DO
The homeowner/customer upon identifying any manufacturing defect must promptly notify LMT in writing and provide
proof of the date of purchase. All notifications should be sent to:
LMT Mercer Group
690 Puritan Avenue
Lawrenceville, NJ 08648
Attn: Consumer Services Department
The consumer may be required to submit a sample of the defective material to LMT for analysis. LMT upon confirming that
a defect exists and that said defect is covered by this warranty will within a reasonable amount of time repair or provide
replacement for the defective material. LMT reserves the right to refund the amount paid by the original owner for the
defective material, and accessories, per the terms of this warranty.
This warranty is effective for products purchased after March 15, 2000.